|
產品展示 PRODUCTS |
 |
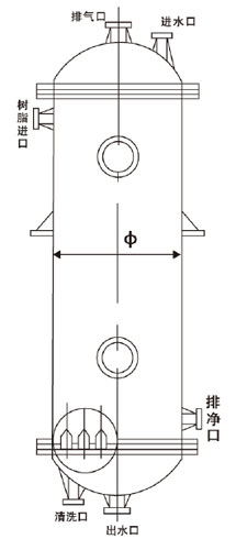
聚丙烯離子交換柱 |
 
離子交換柱主要是利用離子交換樹脂中的離子同原水(液體)中的某些離子進行交換而將其除去,使水(液體)得到凈化的方法。
他已廣泛應用于化工、電子、醫藥、紡織、電鍍行業的制取純水、硬水軟化、藥物和食品的脫色和提取、重要化工原料的回收以及污水處理等,聚丙烯離子交換器(柱)技術參數及外形尺寸:
設備特性:一、工作壓力:≤2MPa
二、工作溫度:-12~120℃
設備外形尺寸
|
名稱
|
陰、陽、鈉單床
|
體內再生混床
|
規格
|
ф250
|
ф315
|
ф400
|
ф500
|
ф630
|
ф800
|
ф250
|
ф315
|
ф400
|
ф500
|
ф630
|
ф480
|
設計
流量
m3/h
|
1
|
1.5
|
2.5
|
4
|
6
|
8
|
2
|
3
|
4.5
|
7
|
1.2
|
8
|
注體高
|
2500
|
2500
|
2500
|
2500
|
2500
|
2500
|
2500
|
2500
|
2500
|
2500
|
2500
|
2500
|
總高
(H)
|
2830
|
2960
|
2930
|
2990
|
3080
|
3200
|
2830
|
2860
|
2930
|
2990
|
3080
|
3200
|
進水口
(Dg)
|
20
|
20
|
25
|
25
|
32
|
65
|
25
|
25
|
32
|
40
|
50
|
65
|
出水口
(Dg)
|
20
|
20
|
25
|
25
|
32
|
65
|
25
|
25
|
32
|
40
|
50
|
65
|
排氣品
(Dg)
|
20
|
20
|
20
|
20
|
25
|
40
|
25
|
25
|
25
|
32
|
40
|
40
|
清洗口
(Dg)
|
25
|
25
|
32
|
32
|
40
|
50
|
32
|
32
|
40
|
40
|
50
|
50
|
樹脂進出口
(Dg)
排凈口
|
32
|
32
|
32
|
40
|
40
|
50
|
32
|
32
|
32
|
40
|
50
|
50
|
|
|
|
|
|
|